| Beschreibung | |
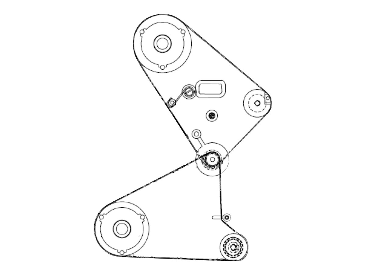
| Zebra - Medienrücklaufband | |
| Produktbeschreibung | Zebra - Medienrücklaufband |
| Produkttyp | Medienrücklaufband |
| Allgemein | |
| Produktfarbe | Schwarz |
| Kompatibilität | 90Xi3Plus, 140Xi3Plus, 170Xi3Plus, 220Xi3Plus |
Hinweis zu Herstellergarantien
Wird in der Artikelbeschreibung eine Herstellergarantie ausgewiesen, bleiben Ihre gesetzlichen Mängelrechte uns gegenüber hiervon unberührt.Weitere Informationen zur Geltendmachung der Herstellergarantie und den Garantiebedingungen finden Sie auf unserer Informations-Seite zum Hersteller Zebra Technologies .
